

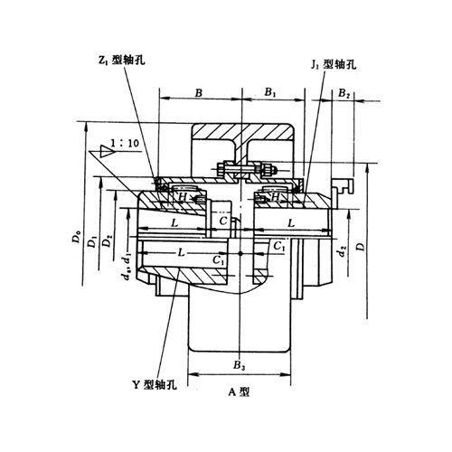
NGCL型带制动轮鼓形齿式联轴器图纸及安装尺寸(JB/ZQ4644-97)

型号 | 公称转 矩Tn /N·m | 许用转 速[n]/ r·min-1 | 轴孔直径 | 轴孔长度L | D0 | D | D1 | D2 | C | C1 | H | B | B1 | B2 | B3 | 润滑脂用量/mL | 质量 m/kg | 转动惯 量I/ kg·m2 | ||
dZ | d1、d2 | Y | J1、Z1 | |||||||||||||||||
NGCL1 | 355 | 4000 | 20~35 | 20、22、24 | 52 | 38 | 160 | 103 | 71 | 50 | 30 | 8 | 2 | 56 | 42 | 38 | 68 | 51 | 7 | 0.07 |
25、28 | 62 | 44 | 7.3 | 0.07 | ||||||||||||||||
30、32、35 | 82 | 60 | 8 | 0.071 | ||||||||||||||||
NGCL2 | 630 | 4000 | 25~45 | 25、28 | 62 | 44 | 160 | 115 | 83 | 60 | 36 | 8 | 2 | 68 | 48 | 42 | 68 | 70 | 9 | 0.079 |
30、32、35、38 | 82 | 60 | 9.7 | 0.08 | ||||||||||||||||
40、42、45 | 112 | 84 | 11 | 0.083 | ||||||||||||||||
NGCL3 | 1000 | 3800 | 30~55 | 28 | 62 | 44 | 200 | 127 | 95 | 75 | 41 | 8 | 2 | 70 | 49 | 42 | 85 | 107 | 14.6 | 0.181 |
30、32、35、38 | 82 | 60 | 15.2 | 0.184 | ||||||||||||||||
40、42、45、48、50、55、56 | 112 | 84 | 17 | 0.187 | ||||||||||||||||
NGCL4 | 1600 | 3800 | 40~65 | 38 | 82 | 60 | 200 | 149 | 116 | 90 | 41 | 8 | 2 | 74 | 53 | 42 | 85 | 137 | 18.6 | 0.225 |
40、42、45、48、50、55、56 | 112 | 84 | 21.4 | 0.237 | ||||||||||||||||
60、63、65 | 142 | 107 | 23.8 | 0.246 | ||||||||||||||||
NGCL5 | 2800 | 3000 | 45~75 | 40、42、45、48、50、55、56 | 112 | 84 | 250 | 167 | 134 | 105 | 48 | 8 | 2.5 | 84 | 58 | 42 | 105 | 201 | 31.8 | 0.58 |
60、63、65、70、71、75 | 142 | 107 | 34.4 | 0.609 | ||||||||||||||||
NGCL6 | 4500 | 3000 | 50~90 | 45、48、50、55、56 | 112 | 84 | 250 | 187 | 153 | 125 | 49 | 9 | 2.5 | 85 | 59 | 42 | 105 | 238 | 37.2 | 0.714 |
60、63、65、70、71、75 | 142 | 107 | 38.5 | 0.754 | ||||||||||||||||
80、85、90 | 172 | 132 | 47.6 | 0.795 | ||||||||||||||||
NGCL7 | 6300 | 2400 | 60~100 | 50、55、56 | 112 | 84 | 315 (300) | 204 | 170 | 140 | 53 | 9 | 2.5 | 93 | 63 | 42 | 132 | 298 | 48.8 | 1.17 |
60、63、65、70、71、75 | 142 | 107 | 55.2 | 1.234 | ||||||||||||||||
80、85、90、95 | 172 | 132 | 61.8 | 1.299 | ||||||||||||||||
100 | 212 | 167 | 71.1 | 1.388 | ||||||||||||||||
NGCL8 | 9000 | 1900 | 70~110 | 55、56 | 112 | 84 | 400 | 230 | 186 | 155 | 64 | 12 | 3 | 112 | 77 | 47 | 168 | 465 | 80.7 | 3.747 |
60、63、65、70、71、75 | 142 | 107 | 90 | 3.841 | ||||||||||||||||
80、85、90、95 | 172 | 132 | 96.5 | 3.939 | ||||||||||||||||
100、110 | 212 | 167 | 108 | 4.072 | ||||||||||||||||
NGCL9 | 14000 | 1500 | 80~130 | 60、63、65、70、71、75 | 142 | 107 | 500 | 256 | 212 | 180 | 71 | 13 | 3 | 119 | 80 | 47 | 210 | 561 | 128 | 9.427 |
80、85、90、95 | 172 | 132 | 138 | 9.605 | ||||||||||||||||
100、110、120、125 | 212 | 167 | 151 | 9.847 | ||||||||||||||||
130 | 252 | 202 | 167 | 10.109 | ||||||||||||||||
NGCL10 | 20000 | 1200 | 80~150 | 65、70、71、75 | 142 | 107 | 630 (600) | 287 | 239 | 200 | 65 | 15 | 3.5 | 120 | 90 | 47 | 265 | 734 | 176 | 28.238 |
80、85、90、95 | 172 | 132 | 190 | 28.509 | ||||||||||||||||
100、110、120、125 | 212 | 167 | 209 | 28.879 | ||||||||||||||||
130、140、150 | 252 | 202 | 237 | 29.248 | ||||||||||||||||
NGCL11 | 31500 | 1050 | 100~170 | 70、71、75 | 142 | 107 | 710 (700) | 325 | 276 | 235 | 77 | 16 | 3.5 | 134 | 94 | 47 | 298 | 956 | 257 | 44.309 |
80、85、90、95 | 172 | 132 | 275 | 44.825 | ||||||||||||||||
100、110、120、125 | 212 | 167 | 300 | 45.53 | ||||||||||||||||
130、140、150 | 252 | 202 | 326 | 46.235 | ||||||||||||||||
160、170 | 302 | 242 | 357 | 47.08 | ||||||||||||||||
NGCL12 | 45000 | 1050 | 100~200 | 75 | 142 | 107 | 710 (700) | 362 | 313 | 270 | 94 | 17 | 4 | 164 | 104 | 49 | 298 | 1320 | 306 | 47.88 |
80、85、90、95 | 172 | 132 | 317 | 48.29 | ||||||||||||||||
100、110、120、125 | 212 | 167 | 351 | 49.52 | ||||||||||||||||
130、140、150 | 252 | 202 | 384 | 50.25 | ||||||||||||||||
160、170、180 | 302 | 242 | 425 | 52.22 | ||||||||||||||||
190、200 | 352 | 282 | 464 | 53.69 | ||||||||||||||||
NGCL13 | 63000 | 950 | 150~220 | 150 | 252 | 202 | 800 | 412 | 350 | 300 | 88 | 18 | 4.5 | 165 | 113 | 49 | 335 | 1600 | 490 | 82.7 |
160、170、180 | 302 | 242 | 544 | 84.7 | ||||||||||||||||
190、200、220 | 352 | 282 | 596 | 86.67 | ||||||||||||||||
NGCL14 | 100000 | 950 | 170~220 | 170、180 | 302 | 242 | 800 | 462 | 420 | 335 | 92 | 20 | 5.5 | 209 | 157 | 63 | 335 | 3500 | 670 | 99.1 |
190、200、220 | 352 | 282 | 736 | 102.2 | ||||||||||||||||
240、250 | 410 | 330 | 785 | 105.9 | ||||||||||||||||